漏洞扫描报告和对应策略相关问题咨询

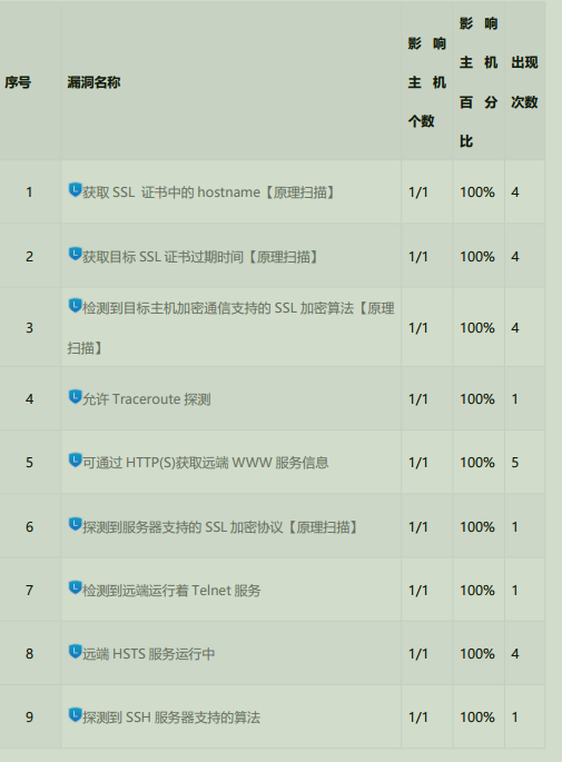
最近通过绿盟扫描出一些低危漏洞,如下:

请问社区的安全扫描结果在哪里可以查看?针对这些扫描漏洞有没有对应策略或解释?

你好,请问附图是哪里来的?

是通过绿盟扫出来的,是网络安全漏洞扫描系统安全评估报告中的

  1. 请问这个扫描的是调测包,还是正式包(构建命令bingo build -t publish --stage release)?
  2. 能提供每项漏洞名称对应的问题详细报告么?

index.pdf (286.0 KB)
这个完整的报告文件,不确定是不是你想要的内容,请查收。

这个版本是调测版本

  1. 使用正式版本再扫描一下
  2. 这个报告里面没有每项漏洞名称对应的问题详细内容, 无法进行进一步分析。

好,稍后再去扫一下看看。另外咋们社区的安全扫描结果在哪里可以查看?针对这些扫描漏洞有没有对应策略或解释?

这些漏洞只有名称,没有漏洞详情和问题详情,无法给出对应的策略和解释。

好的,那社区自己扫的报告可以在哪里看呢

正式版本也用绿盟扫了一下,比调测版本少了一个telnet的漏洞提醒,其他的是一样的

当前社区有版本发布时的安全扫描报告,可以参考:GitCode - 全球开发者的开源社区,开源代码托管平台
当前没有详细的列出漏洞扫描条目

1 个赞

好的看到了,f非常感谢。另外补充问一下,咋们社区以后会补充绿盟等其他的扫描工具吗?

社区暂时没有计划提供绿盟这种商业工具,后续会进一步与基础设施沟通,看看能不能提供一些其他的工具

1 个赞

好的,感谢